火拼!133轮!溢价率189%!土拍上半场,三宗地结果出炉!
扫描到手机,新闻随时看
扫一扫,用手机看文章
更加方便分享给朋友
新春首场土拍,只能用一个“火”字来形容!
1、定销房1分钟超出网上中止价!5家房企进入一次报价!
2、激战44轮,1小时多,融信拿下平江新城北45号地块!
3、133轮!溢价率189%!火拼园区商服地块!
斜港拿下44号定销房地块
上午10点,首先开拍的是姑苏区的友新高架以东的定销房。
姑苏区定销房网上竞价中止价格为8151万元,开拍后不到2分钟即到了网上中止价,有5家进入一次报价,最终由斜港置业有限公司总价8171万竞得友新44号地块(定销房)地块!成交楼面价1972元/平方米,溢价率9%。

苏地2018-WG-44号地块分南、北两地块,为市政府定销商品房项目,销售方式为现房销售(整体取得竣工备案)。

该地块定销商品房结算价格为每平方米8400元,多层阁楼结算价格为每平方米4200元。
据悉,该定销房小区规划总户数266户,市土地储备中心提供的套型比为:90平套型130套,120平套型136套,总建筑面积28020平方米。
关于拿地房企苏州斜港置业,是一家主要从事房地产开发的企业。公司成立于2004年,注册资金5000万元人民币,公司以开发住宅项目有吴中区龙西路吴风雅苑,商业项目有吴风甫里街商铺、尹山湖商业广场;现公司开发建设苏州定销房项目有虎阜花园、路南苑、桐仁花园、东林里,总建筑面积达40万平方米。朗诗新郡项目就是苏州斜港置业与朗诗地产合作开发项目。
楼面价19436!融信拿下45号地块
45号姑苏区民清路以东地块11点准时开拍,但节奏相对缓慢,开拍1小时,44轮加价,并超出市场指导总价130445万元。

经过1小时多的争抢,最终由上海恺垚(融信)竞得,成交总价130856万元,楼面价19435.96元/平,溢价率25.39%。

据消息称,该宗地块有约11家房企有意向竞拍,包括景瑞、阳光城、金科、鑫苑、融信、禹洲、中骏、先进、东原、同济、中天、鸿坤等。
45号地块位于姑苏区民清路以东、日益路以北,出让面积26930.7㎡,容积率≤2.5。起报总价104356万元,起拍楼面价15499.93元/㎡。
规划要求:地块内建筑的预制装配式建筑面积,成品住房面积比列均应达到100%,预制装配率至少达到30%,地块内建筑应按二星绿色建筑标准建设。



从周边配套来说,地块紧邻人民路、沪宁高速公路,交通便捷,轨交2号线、4号线贯通南北。从配套方面来看,南有平江万达广场,地块紧邻相城区,可共享其商业繁花中心、峰汇商务广场等配套。 医疗方面有苏大附属排名前列医院。
教育资源丰富,有平江新城实验小学校、勤惜实验小学校等。未来该片区内还规划有2所幼儿园、2所小学、1所中学。
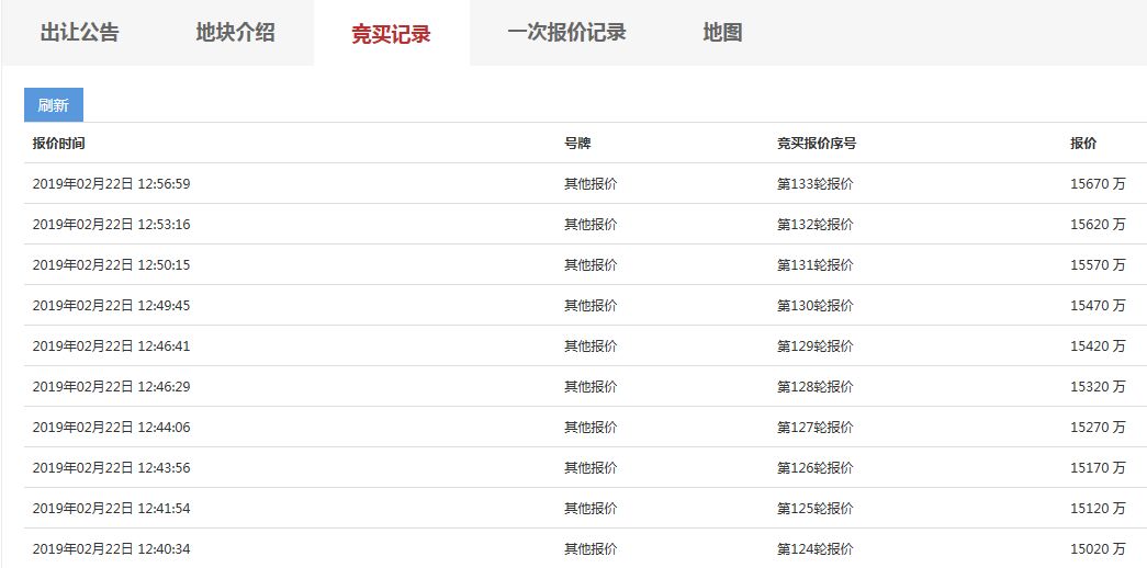
火拼!133轮!溢价率189%
11点开始,姑苏区平江新城北45号和园区商服地块同时开拍。

园区湖东星华街东、港田路南侧商服地块竞争激烈,11点开拍前已有10轮报价。经过133轮火拼!嘉得宝以总价15670万元拿下,楼面价4337元/平,溢价率189%。

园区湖东星华街东、港田路南侧商服用地,占地面积30110.78m²,较高容积率1.0-1.2,地块起拍楼面价1500元/平,起拍总价5420万元。

特别说明:
1、该地块上项目须设置不少于2000㎡的食堂,2021年5月之前建成并将产权无偿移交政府指定单位。
2、该地块上须配建用地面积不少于2500㎡、建筑面积不少于100㎡管理站房的公交首末站一处,建成后停车场地无偿移交政府指定单位使用,管理站房产权无偿移交政府指定单位。
3、该地块上项目建成后,不少于全部计容建筑面积扣除无偿移交部分后剩余计容建筑面积的30%的建筑须由竞得人长期持有经营,不可分割出售;其余可分割销售。
4、该地块上项目竣工后,如因公共利益需要,受让人同意政府无偿使用剩余未开发利用的地下空间。
5、该地块竞买保证金为人民币1084万元,如竞买人选择以美元或港币支付的,则保证金为美元165万美元或港币1265万元。
下午4宗地块竞争同样激烈,请继续关注苏州楼市土拍直播!
关注苏州微信公众号,在公众号内回复“土拍”“苏州土拍”或“土拍直播”即可查看实时竞拍情况!
欢迎关注苏州楼市资讯
声明:本文由入驻焦点开放平台的作者撰写,除焦点官方账号外,观点仅代表作者本人,不代表焦点立场。


